羞羞漫画在线,羞羞漫画,羞羞视频在线观看,羞羞漫画在线观看,羞羞视频最新地址发布页,羞羞网站

首頁 > 資訊中心 > 技術交流 >

資訊中心
服務熱線

服務熱線:027-87876585
027-87876385
移動電話:13317108516
13871149152
傳  真:027-87596225
售后服務:13628671834
E-mail:hb1000kv@163.com
聯系地址:武漢市東湖高新技術開發區關南園四路2號

及時聯系我們為您解答產品相關疑問歡迎撥打全國統一服務熱線

4000-777-650歡迎來電咨詢

聯系我們留言
提供更多資料全方位的服務方案

直流高壓發生器面板功能詳細介紹

返回 打印
來源:儀天成電力  時間:2018/08/25  閱讀:
       直流高壓發生器主要用來進行氧化鋅避雷器、電力電纜、發電機、變壓器、開關等設備進行直流高壓試驗和泄漏電流試驗,具有測試速度快、精度高、安全可靠等特點,但是很多電力工作者對此儀器使用不慎很熟練,而想要熟練使用該儀器,就要先熟悉該設備的各個功能組成,本文就以YTCZG-200kV/2mA直流高壓發生器為例,來給大家簡單介紹直流高壓發生器面板功能。
        控制箱面板示意圖
        1.控制箱接地端子:控制箱接地端子與倍壓筒接地端子及試品接地聯接為一點后再與接地網相連。
        2.中頻及測量電纜快速聯接插座:用于機箱與倍壓部分的聯接。聯接時只需將電纜壓下插頭順時針方向轉動到位,拆線時只需逆時針轉動電纜插頭。
        3.過壓整定撥盤開關:用于設定過電壓保護值。撥盤開關所顯示單位為kV ,設定值為試驗電壓1.1倍。
        4.電源輸入插座:將隨機配置的電源線與電源輸入插座相聯。(交流220V±10%,插座內自帶保險管。)
        5.數顯電壓表:數字顯示直流高壓輸出電壓。
        6.數顯電流表:數字顯示直流高壓輸出電流。
        7.電源開關:向前按下,電源接通,紅燈亮。反之為關斷。
        8.黃燈按鈕:此功能是專門為氧化鋅避雷器快速測量0.75UDc1mA用。綠燈亮時有效。當按下黃色按鈕后黃燈亮,輸出高壓降至原來0.75%,并保持此狀態。按下紅色按鈕,紅燈、綠燈均滅,高壓切斷并退出0.75倍狀態。
        9.綠燈按鈕:高壓接通按鈕、高壓指示燈。在紅燈亮的狀態下,按下綠色按鈕后,綠燈亮紅燈滅,表示高壓回路接通,此時可升壓。此按鈕須在電壓調節電位器回零狀態下才有效。如按下綠色按鈕,綠燈亮紅燈仍亮,但松開按鈕綠燈滅紅燈亮,表示機內保護電路已工作。
        10.紅燈按鈕:紅燈亮,表示電源已接通及高壓斷開。在綠燈亮狀態下按下紅色按鈕,綠燈滅紅紅亮,高壓回路切斷。
        11.電壓調節電位器:該電位器為多圈電位器。順時針旋轉為升壓,反之為降壓。此電位器具備控制電子零位保護功能,因此升壓前必須先回零。
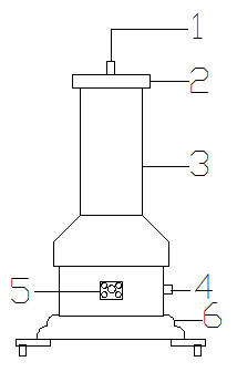
        倍壓筒示意圖
        1. 高壓引出接線柱(可連接微安表和水電阻或限流電阻)           
        2. 均壓球
        3. 倍壓筒體
        4. 接地端子    
        5. 中頻連接端子
        6. 底座
        不同的廠家生產的直流高壓發生器控制箱和面板結構大體相同,電力工作者可以舉一反三,在使用之前,需要先熟悉產品的構造,并嚴格按照說明書來使用,這樣才能達到儀器的測試精度。
 
湖北儀天成電力設備有限公司
2018年8月25日
更多技術問題請致電儀天成電力客戶服務:027-87876585,技術部專線:027-87876585,在線客服:719388481
產品中心:http://www.guangxigrc.com/product/
售后、保修、維修服務中心:http://www.guangxigrc.com
    推薦產品
信息反饋     如果您有更多的問題咨詢,請留言給我們。立即留言,儀天成電力致立研發制造標準、穩定、安全的電力試驗設備。
? 欢迎光临: 久治县| 福清市| 延安市| 上思县| 苏州市| 铁岭市| 鲁甸县| 葫芦岛市| 江都市| 洪洞县| 汉寿县| 界首市| 岳普湖县| 新田县| 固安县| 灵川县| 叶城县| 同江市| 射阳县| 东源县| 江孜县| 鹿泉市| 乐业县| 金川县| 洛扎县| 青海省| 嫩江县| 石景山区| 永修县| 都昌县| 顺平县| 绥棱县| 青龙| 荣昌县| 高密市| 南丰县| 大方县| 安丘市| 扎鲁特旗| 溧阳市| 正宁县|