羞羞漫画在线,羞羞漫画,羞羞视频在线观看,羞羞漫画在线观看,羞羞视频最新地址发布页,羞羞网站

首頁 > 資訊中心 > 技術交流 >

資訊中心
服務熱線

服務熱線:027-87876585
027-87876385
移動電話:13317108516
13871149152
傳  真:027-87596225
售后服務:13628671834
E-mail:hb1000kv@163.com
聯系地址:武漢市東湖高新技術開發區關南園四路2號

及時聯系我們為您解答產品相關疑問歡迎撥打全國統一服務熱線

4000-777-650歡迎來電咨詢

聯系我們留言
提供更多資料全方位的服務方案

高低壓開關柜通電試驗臺面板示意圖以及基本簡介

返回 打印
來源:儀天成電力  時間:2018/10/13  閱讀:
       高低壓開關柜通電試驗臺又名高低壓開關電源試驗臺,高低壓開關柜通電試驗臺用于高低壓開關柜的各項通電試驗。它能提供各種交、直流電源,便于對開關柜的檢測,提高工作效率。
面板示意圖:
后面板:
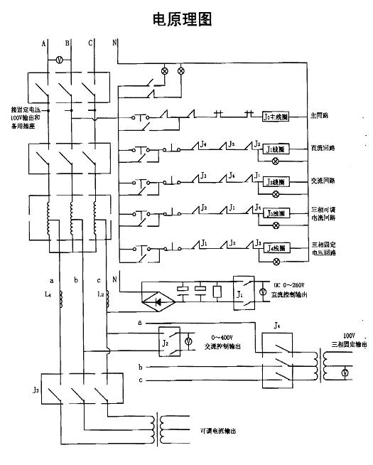
線路原理圖:
產品概述:YTC1106高低壓開關柜通電試驗臺用于高低壓開關柜生產廠家對所生產的高低壓開關柜進行出廠前的各項通電試驗。它能提供各種交、直流電源,便于對開關柜的檢測,提高工作效率。
儀天成電力設備有限公司是專業從事生產、銷售高低壓開關柜通電試驗臺的生產廠家,擁有十二年的生產技術經驗,特別是售后服務有保障,廠家承諾三月包換,三年質保,終身保修。
儀天成電力設備有限公司
2018年10月13日
更多技術問題請致電儀天成電力客戶服務:027-87876585,技術部專線:027-87876585,在線客服:719388481
產品中心:http://www.guangxigrc.com/product/
售后、保修、維修服務中心:http://www.guangxigrc.com
信息反饋     如果您有更多的問題咨詢,請留言給我們。立即留言,儀天成電力致立研發制造標準、穩定、安全的電力試驗設備。
? 欢迎光临: 大厂| 黄山市| 青岛市| 栾城县| 都安| 奎屯市| 东城区| 阿图什市| 乌恰县| 南丹县| 旺苍县| 古丈县| 文水县| 卢龙县| 灵台县| 屏南县| 清河县| 女性| 夏津县| 清涧县| 延边| 将乐县| 永福县| 横峰县| 吉林市| 宁津县| 井陉县| 渝北区| 安阳市| 汕头市| 榆社县| 栾城县| 安徽省| 白水县| 通道| 且末县| 福清市| 永城市| 芦山县| 龙海市| 黔江区|